Датчик температуры RS-TEMP-COMP
Датчик температуры RS-Temp-Comp для компостных заводов
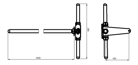
RS-Temp-Comp разработан специально для эксплуатации на компостных заводах. Конструкционные материалы соответствуют повышенным требованиям отрасли. Весь измерительный диапазон линейный. Датчик обеспечивает построение профиля температуры в газо‑твёрдой смеси в диапазоне 0…100 °C. Измерение выполняется в пяти точках с помощью пяти высокоточных датчиков, равномерно распределённых на длине 1 м. Устройство имеет пять линейных токовых выходов 4–20 мА и питается от источника 24 В постоянного тока.
Область применения
Измерение температуры внутри компостной кучи как на открытых площадках, так и на закрытых компостных заводах.
Меры безопасности
- Запрещается эксплуатация датчика с повреждённым корпусом.
- К работе допускается персонал, изучивший руководство по эксплуатации и паспорт изделия.
- Не устанавливайте датчик, подвешенный на кабеле; избегайте чрезмерного натяжения кабеля.
- Не изгибайте корпус датчика.
- Эксплуатация в водной среде не допускается.
- Не рекомендуется размещать датчик вблизи нагревательных приборов.
- Требуемая ориентация при установке — вертикальная.
Основные технические характеристики
| Диапазон измерения температуры | 0…100 °C (5 измерительных точек на длине 1 м) |
|---|---|
| Температура окружающей среды (цифровая часть) | −20…+50 °C |
| Температура окружающей среды (погружной зонд) | −20…+100 °C |
| Выходные сигналы | 5 × токовый выход 4–20 мА (линейные) |
| Питание | 24 В DC (номинальное) |
| Давление | 84…120 кПа |
| Разрешение сигнала | 1 °C |
| Масштабный токовый коэффициент | 0,16 мА/°C |

